
|
Оглавление → Корабли авиации → Авианосцы типа "Graf Zeppelin"
|
|||||||||||||||||||||||||||||||||||||||||||||||||||||||||||||||||||||||||||||||||||||||||||||||||||||||||||||||||||||||||||||||||||||||||||||||||||||||||||||||||||||||||||||||||||||||||||||||||||||||||||||||||||||||||||||||||||||||||||||||||||||||||||||||||||||||||||||||||||||||||||||||||||||||||||||||||||||||||||||||||||||||||
Авианосцы (Flugzeugträger)
типа
Германия, 2 ед. недостроены (проект 04.1934-04.1939, в 1942 г. переработан) * Graf Zeppelin * Peter Strasser *
ОСНОВНЫЕ ДАННЫЕ
ТТХ
БРОНИРОВАНИЕ
ВООРУЖЕНИЕ
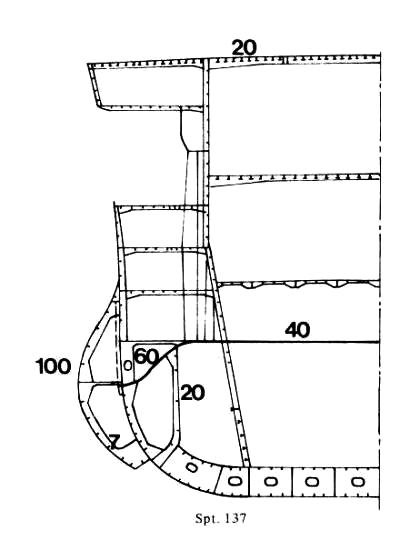
При водоизмещении 23200 т он должен был нести 42 самолета, солидное артиллерийское вооружение (шестнадцать 150-мм орудий, 105-, 37- и 20-мм зенитки) и основательное бронирование — 100-мм броневой пояс и палубу толщиной 20—60 мм. При этом он должен был развивать неплохую скорость хода в 33,8 узла.
"Graf Zeppelin" так и не вошел в строй. Всю войну он простоял в Штеттине (ныне польский город Щецин), где и был захвачен наступавшей Советской Армией. Второй авианосец планировалось назвать "Peter Strasser", но его постройка была остановлена на ранней стадии.
В процессе работы было решено заменить тяжелые 203-мм орудия на 150-мм, зенитную артиллерию принять в количестве десяти стволов калибра 105 мм и крупнокалиберных пулеметов, а скорость увеличить до 35 узлов. Стандартное водоизмещение АВ составило 23 тысячи т. Видимо, уже тогда в проект были заложены основные решения, отличавшие его от зарубежных аналогов. К таковым следует отнести "крейсерскую" броневую палубу со скосами, конструктивное включение полетной палубы в обеспечение общей прочности корпуса и протяженное вертикальное бронирование переменной по длине корпуса толщины. Выбор двухъярусной схемы ангаров определялся количеством размещаемых в них самолетов. Ознакомление осенью 1935 г. с японским АВ "Akagi" и изучение полученной от японцев технической документации по авиационному оборудованию корабля результировалось в появлении на немецком АВ третьего - среднего самолетоподъемника.
Другой, отчасти британской, особенностью авианосца было наличие стартовых тележек наподобие тех, что были на "Фьюриесе". Британцы в ходе последней модернизации "Фьюриеса" от них отказались, но немцы по не совсем понятной причине их оставили. Более того, они избрали основным способом подъема самолетов не их свободный разбег, а катапульту. Расположенные в носовой части полетной палубы, они приводились в действие сжатым воздухом и обеспечивали четыре старта без пополнения запасов воздуха высокого давления. Самолеты в ангаре устанавливались на транспортную тележку, вместе с ней подавались на полетную палубу и по специальным рельсам - на одну из катапульт. После старта самолета, тележка по транспортеру убиралась на ангарную палубу. Можно предположить, что в ходе эксплуатации немцы отказались бы от этой громоздкой затеи, но беда в том, что эксплуатации не было.
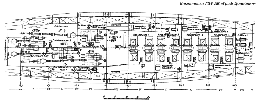
Общая архитектурная компоновка немецкого АВ производила впечатление достаточно традиционной: сплошная полетная палуба с носовым и кормовым консольными свесами, смещенная к правому борту надстройка - "остров" с проходящими через нее газоходами главных котлов, открытая компоновка бака и юта, занимающий большую часть надводного объема корпуса двухъярусный ангар.
АВИАЦИОННОЕ ОБОРУДОВАНИЕ
Покрытая настилом из 50-мм тиковых брусков полетная палуба имела длину 241,0 м, ширину 30,7 м и сообщалась с верхним и нижним ангарами тремя электрическими лифтами, располагавшихся на одной оси, несколько смещенной от диаметральной плоскости к левому борту. Носовой и средний лифты, имевшие по две восьмиугольные грузовые платформы, могли одновременно перемещать самолеты из обоих ангаров, а кормовой - только из верхнего. Площадки лифтов, также как и палуба, имели 20-мм толщину. В носовой и кормовой частях полетной палубы имелись подъемники АБП, еще два лифта предназначались для спуска в ангар (для ремонта) самолетных моторов и стартовых тележек. Из погребов в нижний ангар АБП подавался специальными подъемниками, а в верхний - только самолетоподъемниками. Особенностью взлетных операций являлось применение стартовых тележек, на которые самолеты устанавливались в ангаре и вместе с ними подавались на полетную палубу. С платформы лифта по рельсам тележка с самолетом силой тяги воздушного винта или при помощи палубных шпилей перемещалась на одну из катапульт. После старта самолета тележка посредством специальных наклонных цепных транспортеров, расположенных перед носовым срезом полетной палубы, опускалась на ангарную палубу и по монорельсу транспортировалась в ангар. Лифт предполагалось использовать в случае выхода из строя наклонных транспортеров.
Первоначально палубным истребителем должен был стать Bf 109Т, разработанный на базе Вf 109Е, а штурмовиком — Ju 87С, созданный на основе Ju 87В. В качестве легких бомбардировщиков-торпедоносцев предполагалось использовать самолеты Fi 167 и Аr 195. По состоянию на март 1941 года состав авиагруппы авианосца должен был включать 20 бомбардировщиков-торпедоносцев Fi 167, десять истребителей Вf 109Т и 13 пикирующих бомбардировщиков Ju 87С. К июню 1941 года было собрано 70 истребителей Вf 109Т, пять бомбардировщиков со складывающимися плоскостями были изготовлены и прошли испытания в летно-испытательном институте в Травемюнде, а самолеты Fi 167 и Аr 195 так и остались только в опытных экземплярах. Контракты на изготовление опытных экземпляров двухместных многоцелевых палубных самолетов были подписаны с фирмами Arado и Fieseler. Каждая из них предложила свой проект и получила заказ на три экспериментальные машины с названиями, соответственно, Аr 195 и Fi 167.
Самолет, созданный В. Блюмом в соответствии с этим техническим заданием, получил обозначение Arado Аr 95. Первый его прототип — Аr 95 VI с бортовым регистрационным номером D-OLUO представлял собой двухпоплавковый двухместный цельнометаллический гидросамолет с 9-цилиндровым звездообразным мотором воздушного охлаждения BMW 132 мощностью 845 л.с. Впервые в воздух биплан поднялся осенью 1936 года. Вскоре был собран второй опытный экземпляр — Ar 95 V2 (D-OHEO). Отличительными особенностями этой машины стали рядный 600-сильный двигатель жидкостного охлаждения Junkers Jumo 210 и закрытая кабина экипажа. Первые же полеты показали, что мотор для этого самолета явно слабоват. Особенно это ощущалось на взлете, поэтому на Ar 95 V2 также пришлось установить более мощный BMW 132. Фюзеляж самолета — цельнометаллический монокок из легких алюминиевых сплавов. Силовой набор состоял из штампованных шпангоутов, лонжеронов и поддерживающих стрингеров. Технологически фюзеляж разделялся на три основные секции: носовую, центральную и хвостовую.
Всю центральную секцию фюзеляжа занимала кабина экипажа. В отсеке летчика размещалось приборное оборудование, обеспечивающее полет в любых метеоусловиях. Все пилотажно-навигационные приборы устанавливались на лобовой приборной доске. Кресло летчика можно было регулировать по высоте. За отсеком летчика располагалась кабина бомбардира с необходимым приборным оборудованием, рабочим столом, прицелом и УКВ-радиостанцией. Там же размещался фотоаппарат для аэрофотосъемки. За кабиной бомбардира находился отсек стрелка, где на шкворневой установке был закреплен оборонительный пулемет МС15, а на правом борту по полету закреплялись запасные магазины. Кабина экипажа — полностью застекленная, однако отсек стрелка имел частичное остекление для более удобного ведения стрельбы из пулемета. Подвижные части фонарей летчика и стрелка сдвигались, соответственно, назад и вперед по полету Для удобства доступа в кабину экипажа по обоим бортам фюзеляжа предусматривались поручни и подножки. К хвостовой секции были пристыкованы киль с рулем направления и стабилизатор с рулем высоты. Внутри секции проложена проводка управления рулевыми поверхностями. Крыло самолета — цельнометаллическое, бипланной схемы, причем размах верхнего и нижнего крыльев совпадают. Конструкция крыльев — двухлонжерон-ная. Каждое крыло состоит из трех секций: центроплана и двух консолей. Лонжероны консольных частей крыла — двутавровые балки. Передний лонжерон центроплана коробчатого типа, задний — трубчатый. Нервюры — ферменной конструкции. Носок крыла — штампованный профиль. На задней кромке центроплана устанавливалось зеркало заднего обзора и имелся поручень для удобства посадки в кабину летчика. Профиль центроплана нижнего крыла заметно утолщался в сторону фюзеляжа; поверх его наклёпывались специальные дюралюминиевые накладки — своего рода дорожка для пилотов и технического персонала при посадке в самолет и его обслуживании. Для уменьшения сопротивления центроплан по задней кромке имел характерный увеличенный зализ. По всей задней кромке консолей верхнего и нижнего крыльев размещались элероны, выполненные в виде двух секций (внешней и внутренней). Для уменьшения усилий на ручке управления элероны оснащались весовыми компенсаторами каплевидной формы. На внутренних секциях элеронов были установлены управляемые триммеры. Снизу на консолях крыла монтировались бомбодержатели ЕТС50. Между собой и с фюзеляжем верхнее и нижнее крылья соединялись системой подкосов и расчалок. Подкосы были профилированными, обтекаемой формы, расчалки — стальные тросовые. На законцовках верхнего крыла располагались аэронавигационные огни (АНО). Для уменьшения габаритов биплана при его хранении консоли крыла выполнены складными и сводились назад по полету к фюзеляжу, при этом части центроплана (до второго лонжерона) откидывались вверх. Хвостовое оперение — цельнометаллическое. Киль — двухлонжеронный, с поперечным набором из штампованных нервюр и с дюралюминиевой обшивкой. В верхней точке киля располагалась стойка антенны радиостанции. Руль направления — дюралюминиевый, с весовой компенсацией. Для уменьшения усилий на педалях ножного управления и балансировки руля направления в определенном положении предусматривался триммер. На руле направления располагался также фонарь габаритного АНО. Стабилизатор имел аналогичную килю двухлонжеронную конструкцию с обшивкой из листового дюралюминия. Руль высоты — односекционный, с роговой аэродинамической компенсацией. В центральной части руля высоты по задней кромке располагался управляемый триммер. Привод руля направления — гибкий, тросовый, от педалей ножного управления; руля высоты — жесткий, от штурвала колонки управления.
Силовая установка состояла из 9-цилиндрового звездообразного двигате- ля воздушного охлаждения ВМW 132D взлетной мощностью 880 л.с. с металлическим трехлопастным винтом изменяемого шага Hamilton Standart. На высоте 1000 м двигатель развивал мощность 900 л.с, а на 2500 м — 850 л.с. Моторама из стальных труб закреплялась на первом силовом шпангоуте. Капот двигателя типа NАСА выполнялся в виде трех быстросъемных панелей. Интенсивность воздушного потока регулировалась створками рубашки охлаждения в задней части капота.
Оборонительный пулемет — 7,92-мм Rheinmetall-Borsig МG15; его масса — 8,1 кг, длина — 1090 мм, скорострельность — 1250 выстр./мин, начальная скорость пули — 765 м/с. Боезапас из 825 патронов находился в 11 коробчатых магазинах по 75 патронов в каждом. Сам пулемет закреплялся на шкворневой установке. Курсовой пулемет — 7,92-мм Rheinmetall-Borsig МG17, его масса составляла 10,2 кг, скорострельность — 1080 выстр./мин, начальная скорость пули — 905 м/с. Управление стрельбой — с помощью электропривода. Пулемет устанавливался в передней части фюзеляжа перед кабиной пилота и был смещен вправо от оси симметрии самолета. Боезапас из 500 патронов находился в патронном ящике. Бомбовое вооружение самолета состояло из шести бомб 5С50 на бомбодержателях ЕТС50, крепившихся под консолями крыла. Под фюзеляжем могла подвешиваться 533-мм торпеда LT5f массой 700 кг или 250-кг бомба SС250. Предусматривался также вариант с подвеской под фюзеляжем четырех бомб SС50 на многозамковом балочном держателе.
Летом 1938 года на испытания были переданы опытные образцы Аr 195 и Fi 167, в процессе которых выявилась полная бесперспективность Arado и, наоборот, полное соответствие техническому заданию самолета Fi 167. В результате от машины фирмы Arado заказчик отказался, а фирма Fieseler получила дополнительный заказ на установочную серию из 12 самолетов.
Испытания подтвердили прекрасные характеристики Fi 167 V1 при полетах на малых скоростях. С полным "газом" и с взятой на себя ручкой управления самолет мог садиться почти вертикально. Максимальная скорость биплана в 320 км/ч также отвечала техническому заданию, а боевая нагрузка оказалась в два раза выше заданной. Первые летные испытания оказались настолько успешными, что Г. Физелер решил не делать третий экспериментальный самолет, а сразу готовить установочную партию из 12 машин Fi 167А-0. Предсерийные самолеты мало отличались от Fi 167 V1 и Fi 167 V2. Основными изменениями по результатам испытаний были установка колес низкого давления и большего диаметра, триммеров Флеттнера на оперении и нового пламегасителя, а также доработка воздухозаборника двигателя DВ 601В. ***
Фюзеляж самолета — цельнометаллический монокок из алюминиевых сплавов. Силовой набор состоял из штампованных шпангоутов, лонжеронов и поддерживающих стрингеров. Технологически фюзеляж разделялся на три основные секции: переднюю, центральную и хвостовую. Переднюю часть фюзеляжа занимали силовая установка, топливный бак и маслорадиатор с маслобаком. Первый силовой шпангоут, на котором крепилась моторама, выполнял также функцию противопожарной перегородки. В верхней части носовой секции закреплялся синхронный курсовой пулемет МG17. Все остальное пространство отсека занимал фюзеляжный топливный бак. К силовым шпангоутам носовой секции крепились подкосы верхнего крыла. В центральной секции фюзеляжа размещалась кабина экипажа с приборным оборудованием. За отсеком летчика находилось рабочее место стрелка-бомбардира, где на шкворневой установке размещался пулемет МОИ 5. Отсек летчика полностью застеклен, а отсек стрелка имел частичное остекление. Киль с рулем направления и стабилизатор с рулем высоты были пристыкованы к хвостовой секции фюзеляжа. Крыло самолета — цельнометаллическое, двухлонжеронное, бипланной схемы. Лонжероны консольных частей крыла — двутавровые балки. Передний лонжерон центроплана коробчатого типа, задний — трубчатый. Нервюры — ферменной конструкции. Верхнее и нижнее крылья имели автоматический предкрылок, занимавший весь их размах. Нижнее крыло оснащалось закрылками большой площади. Бипланная коробка имела по две пары N-образных стоек и могла складываться назад на шарнире, установленном сразу за внутренней стойкой. Подкосы имели профилированную форму. Расчалки — стальные тросовые.
Хвостовое оперение — цельнометаллическое. Киль — двухлонжеронный, с дюралюминиевой обшивкой. Поперечный набор киля — штампованные нервюры. Двухлонжеронный цельнометаллический стабилизатор с дюралюминиевой обшивкой по конструкции был аналогичен килю. На задней кромке руля высоты был установлен управляемый триммер. Управление рулем направления — тросовое, от педалей, рулем высоты — жесткое, от штурвала. Шасси самолета — трехстоечное, с хвостовым колесом. Основные стойки закрыты обтекателями. При аварийной посадке на воду стойки шасси могли отстреливаться. Амортизация стоек — масляно-воздушная. Тормоза колес основного шасси колодочного типа с приводом от пневмосистемы. Хвостовое колесо — нетормозное, самоориентирующееся.
Капоты мотора представляли собой быстросъемные панели увеличенной площади. В нижней части носового отсека, под двигателем, располагался туннельный радиатор. В подкапотном пространстве — между двигателем и противопожарной перегородкой — размещались 35-литровый маслобак, электростартер, генератор, а также подкачивающие насосы — топливный и гидравлические. Топливо находилось в фюзеляжном баке емкостью 420 литров.
Курсовой пулемет Rheinmetall-Borsig МG17 калибра 7,92 мм имел массу 10,2 кг, скорострельность — 1080 выстр./мин, начальную скорость пули — 905 м/с. Управление стрельбой — электрическое. Пулемет устанавливался в передней части фюзеляжа перед кабиной пилота и был смещен вправо от оси симметрии самолета. Боезапас из 500 патронов находился в патронном ящике. Бомбовое вооружение самолета состояло из четырех бомб 3С50 на бомбодержателях ЕТС50, закрепленных на нижних поверхностях консолей крыла. Под фюзеляжем могла подвешиваться 533-мм торпеда LT5f массой 700 кг или бомбы SС250 и SD1000 калибра 250 кг и 1000 кг соответственно.
Тем временем вступление в строй авианосца затягивалось до лета 1940 года, что отразилось на отношении к палубным самолетам. К тому же в этот период Технический департамент решил в качестве палубного пикирующего бомбардирововщика использовать Ju 87С-0, а на Fi 167А возложить задачи разведчика и торпедоносца. Следующим ударом по биплану фирмы Fieseler стало решение, принятое в мае 1940 года, о приостановлении работ по достройке авианосца. Но тем не менее выпуск 12 самолетов Fi 167А-0 продолжился. Для войсковых испытаний сформировали опытную 167-ю эскадрилью. Когда 13 мая 1942 года было решено возобновить работы на авианосце, 167-ю эскадрилью с девятью Fi 167 перевели в Голландию для так называемых "напряженных испытаний" на голландском побережье. Однако, биплан Fi 167, несмотря на уникальные летные характеристики, уже не рассматривался как возможный боевой палубный самолет. Fi 167 оставались в Голландии до начала 1943 года, участвуя в различных опытных программах, включая исследования по камуфлированию морских самолетов.
История создания палубного самолета-истребителя ведет свое начало с 1936 года, когда был поставлен вопрос о создании палубной авиации для будущих авианосцев класса "А" и "В". Для его реализации был объявлен конкурс, победителем которого стал биплан Аr 197, облетанный в начале 1937 года. Несмотря на то, что Аr 197 представлял для своего класса практически идеальную машину, стремительное развитие техники привело к тому, что самолет устарел еще до своего появления. Наиболее передовым истребителем в тот период был Вf 109, поэтому руководство RLМ обратилось в 1938 году к В. Мессершмитту с просьбой сделать палубный истребитель на базе Вf 109. Это было единственно возможное в данной ситуации решение.
При конструировании нового самолета В. Мессершмитт максимально использовал опыт разработки Вf 108. В частности, для Вf 109 (такое обозначение присвоили будущему истребителю) позаимствовали от Вf 108 щелевые предкрылки и закрылки, а также полностью закрытый фонарь. Для сокращения взлетной дистанции конструктор выбрал для истребителя больший стояночный угол атаки, чем у спортивного Вf 108 — и это несмотря на ухудшение обзора из кабины. На первый экземпляр с обозначением Вf 109V-1 и с заводским номером 758 в сентябре 1935 года установили 695-сильный Rolls-Royce "Кестрел" V. После нескольких испытательных полетов Вf 109V-1 в конце октября был направлен на сравнительные испытания в Травемюнде. Его соперниками стали самолеты Не1пке1 Не 112V-1, Arado Аr 80V-1 и Fokke-Wulf Fw 159V-1. Убедительная победа Вf 109, которой закончились сравнительные испытания, и последующее заключение контракта на постройку десяти истребителей оказались полным сюрпризом для соперников, которые пока еще не воспринимали В. Мессершмитта всерьез. Три первые машины закончили к концу 1936 года. Вf 109V-2 (D-IUDE, заводской номер 809) и Вf 109V-3 (D-IHNY, заводской номер 810) взлетели в январе и июне 1936 года, на них уже стоял штатный мотор Jumo 210А. Предусматривалась возможность установки на самолет двух пулеметов МG-17 винтовочного калибра. Слухи о вооружении британских истребителей Spitfire и Hurricane пушками заставили конструкторов подумать об усилении вооружения Вf 109. На него решили поставить три пулемета, один из которых, стрелял через кок винта. Пушка МG FF появилась на Вf 109V-4 — ее установили в развале цилиндров мотора. Семь машин из десяти заказанных были готовы в первой половине 1937 года.
24 июля 1935 года В. Мессершмитт открыл собственную фирму Messerschmitt GmbH. На постройку цехов, приобретение оборудование и налаживание производства у него ушло всего 16 месяцев. Быстрому налаживанию производства способствовала очень технологичная конструкция самолета. Фюзеляж изготавливался из двух половин, причем каждая имела силовой набор из продольных лонжеронов и поперечных шпангоутов, через которые проходили стрингеры. Однолонжеронное крыло фиксировалось на фюзеляже всего в трех точках и могло закрепляться одним человеком.
Испытания опытных экземпляров Вf 109 показали, что центральный пулемет после нескольких очередей отказывал из-за перегрева, и Вf 109В-1 стали поступать в части без него.
В 1937 году в воздух поднялась следующая модификация истребителя — Вf 109В-2. Ее прототипом послужил Вf 109V7 с двигателем Jumo 210G, на котором испытывались двухскоростной нагнетатель, автомат управления газом и непосредственный впрыск топлива в цилиндры, позволявший сохранять устойчивую работу силовой установки при энергичном боевом маневрировании. Однако новый двигатель еще не вышел из стадии испытаний и на серийные самолеты его не ставили. Вf 109В-2 выпускались с Jumo 210D, а Jumo 210G получили только последние самолеты из этой серии.
В ходе испытаний зимой 1939 года выяснилось, что самолеты не оправдывают возлагавшихся на них надежд. В частности, слишком жесткое шасси приводило к тому, что машина прыгала над тросами аэрофинишера. Проблему с шасси удалось решить лишь после полутора тысяч посадок.
Другую проблему составляла сложность пилотирования самолета при заходе на посадку, что объяснялось плохим обзором из кабины и неустойчивостью самолета при пробеге. Осознав проблему, конструкторский коллектив под руководством Рудольфа Гертле, спроектировал для "Теодора" (такое неофициальное прозвище закрепилось за самолетом) новое нескладывающееся крыло размахом 11,08 м, оснащённое аэродинамическим тормозом. В июле 1939 года новое крыло установили на Вf 109V15. В последний день июля самолет облетал заводской летчик Герман Вюрстер, после чего машину передали для испытаний.
В 1939 году был подписан контракт с фирмой Messerschmitt АG на выпуск палубных истребителей Вf 109Т. В течение последующих месяцев число заказанных машин несколько раз пересматривалось. Сначала речь шла о 70 самолетах, затем их число увеличили до 120, а принятый 15 сентября 1940 Lieferplan 10 уже предусматривал выпуск 155 Вf 109Т. В принятом в июне 1940 года документе Lieferplan 17 говорилось уже о 170 истребителях. В конечном итоге все же остановились на цифре в 70 машин. Несомненно, на это сокращение повлияло то обстоятельство, что в июле 1940 года все работы на авианосце были приостановлены.
В марте сборку палубных самолетов приостановили, возобновив ее в апреле. При этом апрельский "тираж" составил 20 машин, которые тут же подвергли модификации. Аналогичная картина наблюдалась в мае и июне, когда для модификации направили очередные 20 "теодоров". Последним Ва 109Т стал самолет с заводским номером 7797. Всего было выпущено 70 "теодоров". Первый Вf 109Т отправили в Травемюнде для испытаний, следующие шесть машин также предназначались для различных испытаний, а оставшиеся 63 машины поступили на вооружение двух дивизионов — I/JG77 и Тронхейм. В конце 1941 года оставшиеся самолеты сняли с боевого дежурства и отправили на завод-изготовитель для модернизации до стандарта Т-1. Всего переделке подверглись 48 ВТ 109Т. Все машины собрали в Пиллау с целью использовать их на авианосце, работы над которым были возобновлены. Однако военная ситуация продолжала ухудшаться, и зимой 1943 года работы над авианосцем были вторично и окончательно заморожены. Ну а самолеты было решено передать Luftwaffe, что и сделали весной 1943 года — с них демонтировали тормозные гаки и передали в учебные подразделения.
К 1943 г. Luftwaffe возобновило подготовку палубных эскадрилий и решило в качестве бомбардировщика-торпедоносца использовать вариант Ju 87D, получивший обозначение Ju 87Е.
Свой первый полет опытный образец Ju 87V1 совершил 19 сентября 1935 года. Это был цельнометаллический самолет с работающей обшивкой, с фюзеляжем овального сечения, собранным из двух половин по плоскости симметрии, и с приклепанной к z-образным профилям шпангоутов и стрингеров гладкой обшивкой. Крыло имело двухлонжеронную конструкцию с частым набором нервюр. Центропланная секция выполнялась как единое целое с фюзеляжем, и образовывала с консолью характерный излом типа "обратная чайка". На задней кромке крыла были характерные щелевые закрылки Гуго Юнкерса, внешние секции которого были элеронами, а внутренние — закрылком. Оперение выполнено разнесенным, с подкосным стабилизатором. Два члена экипажа размещались в одной кабине спиной к спине под общим фонарем. Стойки шасси, крепившиеся к концам центроплана, имели широкие обтекатели и один подкос.
Ко времени катастрофы был готов второй опытный экземпляр Ju 87 V2 с двигателем жидкостного охлаждения Jumo 210Аа мощностью 610 л.с. на высоте 2600 м, оснащенным трехлопастным винтом изменяемого шага. Первый полет самолета задержали для переделки оперения — оно стало обычным однокилевым, что увеличило длину самолета с 10,1 м до 10,65 м. Испытания возобновились в конце осени 1935 года. Третий опытный экземпляр Ju 87 V3 взлетел еще до конца года. Его конструкцию изменили по результатам испытания первых машин. Главным новшеством была доработанная моторама, что позволило опустить двигатель и улучшить обзор пилоту. Одновременно переделали хвостовое оперение — его площадь была увеличена, а на концах стабилизатора появились небольшие шайбы. Воздушные тормоза поставили на Ju 87 V2 перед официальными испытаниями в Рехлине в марте 1936 года, где самолет принял участие в конкурсе наравне с тремя конкурентами. Ju 87 V3 предполагалось использовать в качестве дублера.
Предсерийные Ju 87А-0 отличались от Ju 87А V4 новым двигателем Jumo 210Са взлетной мощностью 600 л.с. (640 л.с. на высоте 2700 м) и лучшей технологичностью конструкции. Излом по передней кромке крыла устранили, а площадь крыла оставили той же за счет меньшего его сужения. В задней части кабины на подвижной установке располагался 7,9-мм пулемет МG 15. Первый предсерийный пикировщик Ju 87А-0 сошел со сборочной линии в конце 1936 года, а в начале 1937 года последовал заказ на серийный Ju 87А-1. К этому времени командование Люфтваффе планировало создать шесть групп пикирующих бомбардировщиков, из которых четыре должны были получить Ju 87. В конце 1937 года на заводе в Дессау запустили в серию Ju 87А-2, отличавшийся от предшественника двигателем Jumo 210Dа с двухступенчатым нагнетателем и воздушным винтом с более широкими лопастями. Взлетная мощность мотора составляла 680 л.с. (670 л.с. в течение пяти минут на высоте 3900 м).
С появлением более мощного двигателя Jumo 211 в конце 1937 года начались работы по переоборудованию под него самолета. В конце весны 1938 года выпуск Ju 87А-2 в Дессау стали сворачивать. Всего Люфтваффе получили 200 Ju 87А. Новая модификация Ju 87 должна была оснащаться двигателем Jumo 211 А, который испытывался на Ju 87 V6 и Ju 87 V7. В тот же период готовился перенос производства этих самолетов с завода фирмы Junkers на завод Weser Flugzeugbau в Темпельхофе под Берлином, который начал поставку Ju 87В-1 осенью 1939 года. С переводом производства в Темпельхоф темпы поставок резко возросли — всего до конца года завод Weser Flugzeugbau изготовил 557 самолетов.
В 1938 году было решено включить в состав авиагруппы на авианосце Graf Zeppelin эскадрилью пикирующих бомбардировщиков. В конце 1938 года на фирме Junkers приступили к созданию морского варианта Ju 87В, получившего обозначение Ju 87С. Прототипами варианта С стали два переоборудованных самолета Ju 87В, испытанные в марте и апреле 1939 года. Ju 87С имел меньший на 0,6 м размах крыльев и механизм, позволяющий вручную складывать их назад. Под фюзеляжем монтировался посадочный крюк, а также крепление для поводка палубной катапульты. Стойки шасси снабжались небольшими подрывными зарядами, позволяющими отстреливать их при аварийной посадке на воду для предупреждения возможного капотирования.
В случае установки дополнительных топливных баков (по два в фюзеляже и на подкрыльевых держателях) общий запас горючего возрастал до 2500 литров, что увеличивало дальность полета Ju 87С до 1100 км.
Из заказанной серии в 170 Ju 87С-1 построили лишь несколько экземпляров пикировщика, которые передали в испытательный центр в Рехлине, где еще в июне 1942 на них проводили различные испытания. Остальные планеры версии С-1, имевшие частичную готовность, закончили в версии В-2. Небольшую партию Ju 87С-0 отправили в 4-ю эскадрилью 186-й авианосной группы (немецкое название — (Stuka) Staffel des Tragergruppes 186), которая была сформирована в декабре 1938 года в Киле и ранее летала на Ju 87А, отрабатывая полеты над морем.
После возобновления работ на авианосце фирма Junkers приступила к проектированию палубного торпедоносца на базе Ju 87D-1. Эти машины предназначались для вооружения авиационной торпедой LFT-5W калибра 533 мм. Морская комплектация самолета была идентичной вариантам Ju 87С-0 и Ju 87С-1. Испытания самолета, получившего обозначение Ju 87D-1/to (torpedo) или Ju 87Е, проходили весной и летом 1942 года в испытательном центре Травемюнде. Серийные Ju 87Е-1 предполагалось дополнительно оборудовать стартовыми ускорителями для сокращения их разбега по палубе авианосца. В течение года на опытном экземпляре машины проходили испытания нового оборудования для старта с усовершенствованной катапультной установки, а также нового тормозного гака. Однако после прекращения дальнейших работ на авианосце в феврале 1943 года заказ на 115 машин аннулировали.
В рамках его реализации в 1938 году фирме Germanienwerft заказали второй авианосец, под литерным обозначением "В" ("Заказ 555"). Он был вскоре заложен, однако с его постройкой не особенно спешили, так как надеялись учесть в этой конструкции опыт, накопленный при создании первого корабля. В отличие от головного авианосца, силовая установка которого была заказана швейцарской фирме, главные механизмы авианосца "В" должны были изготавливаться в самой Германии фирмой Krupp Germania. В соответствии с строительным графиком спуск на воду предполагался на 1 июля 1940 года. Довоенные источники печати не раз сообщали о спуске на воду этого авианосца, называлось даже присвоенное ему имя - "Peter Strasser". Однако после войны стало известно, что работы на нем были остановлены задолго до спусковой готовности - строительство успело продвинуться лишь до шпангоутов броневой обшивки средней части корабля, и с полной уверенностью можно утверждать, что вопрос о наименовании корабля на обсуждение не ставился. Вторая мировая война разразилась, когда реализация "Плана Z" находилась только в начальной стадии, и командованию германских ВМС пришлось пересмотреть очередность строительства кораблей различного типа. В результате на первое место были поставлены подводные лодки, а постройку авианосца "В" уже 11 сентября 1939 года (по другим данным, 19 сентября 1939 года) отменили, заказ на него был аннулирован. 28 февраля 1940 года он был продан на слом, и вскоре разобран на стапеле.
К этому моменту официальные затраты на его строительство составили 93 млн рейхсмарок, что было эквивалентно расходам по постройке двух новейших крейсеров. На корабле были смонтированы котлы и паровые турбины, установлены 150-мм орудия (количество которых по настоянию Управления вооружений флота увеличили в два раза — до 16 стволов), однако не хватало некоторого важного вспомогательного оборудования. Задерживался и монтаж 105-мм универсальных орудий, и комплекса приборов управления стрельбой, так как предназначавшиеся для авианосца артустановки и приборы управления стрельбой были проданы СССР.
Все шло хорошо, если бы не ожидание быстрого завершения войны: германское руководство сосредоточило все ресурсы на кораблях, имевших более высокую степень готовности. 29 апреля 1940 по предложению Главнокомандующего ВМС работы по достройке АВ остановились. К этому времени корабль уже получил новую носовую оконечность "атлантического" типа, которая вводилась для всех крупных кораблей германского флота, учитывая суровые условия плавания в Северной Атлантике. Наибольшая длина АВ за счет носа выросла на 5,4 м.
В канун операции "Барбаросса" (по всей вероятности, опасаясь ударов советской авиации) авианосцу вновь изменили место стоянки — 19 июня с помощью буксиров "Danzig" и "Albert Forster" он отправился в Штеттин, где 21 июня ошвартовался у пирса прямо перед улицей Хакенштрассе (именно к этому периоду относятся многочисленные сохранившиеся любительские фотоснимки авианосца). Здесь он простоял до ноября, когда Готенхафен снова посчитали безопасным.
К началу 1942 года у немецких адмиралов уже не оставалось никаких сомнений в высокой эффективности авианосцев, которая была наглядно и неоднократно продемонстрирована. Например, в ходе британского рейда против базы итальянского флота Таранто, на время парализовавшего итальянские ВМС; успешных действий британской палубной авиации при уничтожении немецкого линкора "Bismarck" и против кораблей снабжения в Атлантике и, наконец, атаки японскими палубными самолетами американского флота в Перл-Харборе. Учитывая это, морское руководство неоднократно пыталось убедить Гитлера все же разрешить достройку авианосца и поставку необходимых ему палубных самолетов. Дело сдвинулось с места после доклада фюреру "Об окончании строительства авианосца", который состоялся 13 апреля 1942 года в его ставке "Вольфшанце". Вице-адмирал Кранке доложил фюреру, что постройку корпуса авианосца и монтаж главных механизмов возможно закончить уже летом 1943 года. Наиболее же трудной задачей для полного завершения работ станет оптимизация авиационного оборудования, необходимого для использования на авианосце новых палубных самолетов — истребителей Вf 109F и бомбардировщиков Ju 87D.
Вечером 13 апреля 1942 г. в ставке фюрера в Вольфшанце состоялся доклад "Об окончании строительства АВ", во время которого присутствовали начальник оперативного управления штаба Вермахта генерал - Йодль, вице-адмирал Кранке и адъютант Гитлера фрегаттен капитан фон Путцкамер. К этому времени проектные подразделения УК ВМС Германии закончили технический проект модернизации корабля.
А. Окончание постройки корпуса и установка машины, возможно будут закончены не ранее лета 1943 г. В. Общее время, необходимое дня завершения АВ, не зависит от окончания постройки корпуса и машин, а от изменения авиационного оборудования для того, чтобы можно было использовать самолеты, переоборудованные из Ju-87D и Bf-109F. Около двух лет потребовалось на проектирование, строительство и испытание катапульт, необходимых для этих самолетов. Если бы было возможно переоборудовать существующие катапульты, срок сократился бы до шести месяцев. Необходимы также лебедки для тормозных механизмов. Компания, выпускающая эти лебедки, еще не сообщила, когда они могут быть переданы. Поэтому АВ не может быть закончен ранее зимы 1943/1944 гг. Фюрер указывает, что вообще Вооруженные силы очень завышают свои требования. С. Самолеты. Можно рассчитывать только на десять переоборудованных истребителей и двадцать два бомбардировщика (включая и разведывательные самолеты). Нет торпедоносцев. Если бы был разработан новый тип палубного самолета, массовое их строительство возможно развернуть не ранее 1946 г. Морской штаб считает, что пока результаты наших усилий не оправдывают продолжение работ по строительству АВ. Хотя технические проблемы, касающиеся строительства корабля и переоборудования самолетов, по-видимому, могут быть разрешены, имеющиеся еще недочеты критическим образом уменьшают тактическую ценность АВ. ГК ВМФ будет снова высказывать свои предложения, если беседа с ГК ВВС относительно палубных самолетов не будет иметь удовлетворительных результатов. Фюрер считает, что торпедоносцы необходимы в любом случае; это тем более важно, поскольку "наши собственные типы самолетов равноценны самолетам противника". Мотивы: во-первых, "Luftwaffe" согласились поставить для АВ десять истребителей и двадцать два пикирующих бомбардировщика (хотя Гитлер и подчеркнул необходимость торпедоносцев, после доклада о требуемых сроках разработки и строительства новых машин он согласился на комплектование авиагруппы АВ только истребителями и бомбардировщиками, заявив, что не предполагает активно использовать его против английских кораблей); во-вторых, появилась реальная возможность закончить корпусные работы и монтаж ЭУ летом 1943 г. 13 мая ГК ВМС издал соответствующий приказ, одновременно предприняв попытку добиться санкции Гитлера на воссоздание морской авиации (фюрер в ответ на это обращение сообщил, что создать морскую авиацию во время войны невозможно, однако он понимает необходимость ускорить, хотя и запоздало, строительство АВ).
Так как в этот период Германия в первую очередь нуждалась в обеспечении боеспособности своих подводных лодок, кораблей-блокадопрорывателей и крупных артиллерийских кораблей при их действиях на коммуникациях противника, и учитывая то, что англичане для противодействия кораблям-блокадопрорывателям и для охраны своих конвоев широко применяли крейсеры, Кригсмарине требовался некий симбиоз эскортного и ударного авианосцев. В результате достройка авианосца должна была производиться по модернизированному варианту, технический проект которого к этому времени уже был разработан. В соответствии с ним на авианосце усилили зенитную артиллерию до 22 зенитных установок SК С/30 калибра 37 мм и 28 спаренных 20-мм зенитных орудий SК С/38, размещенных на бортовых спонсонах и на надстройке. Мостики и посты управления получили противоосколочное бронирование, была удлинена дымовая труба и на ней установлен специальный козырек для лучшего отвода газов от полетной палубы. Для размещения антенн радиолокационных станций обнаружения FuМО-21 и FuМО-25 была предусмотрена новая мощная мачта. Так как большинство модернизационных мероприятий проводилось на так называемом "острове" на правом борту корабля и сопровождалось увеличением его массы, это существенно ухудшило характеристики остойчивости. Для ее повышения конструкторы предложили снабдить корабль бортовыми булями шириной около 2,4 м, которые позволили бы также значительно улучшить подводную защиту, признанную по опыту боевых действий неудовлетворительной. Кроме того, в центральные отсеки булей перенесли часть вспомогательных механизмов, в них же разместили и дополнительный запас котельного топлива, а остальное пространство было заполнено бетонным балластом. Изменения, внесенные в проект авианосца, привели к тому, что его водоизмещение выросло на 2220 т. Артиллерийское вооружение в окончательном варианте состояло из шестнадцати орудий С/28 калибра 150 мм в спаренных казематных установках С/36, шести спаренных универсальных 105-мм установок С/31, расположенных на "острове" и верхней палубе, двадцати двух зенитных установок С/30 калибра 37-мм и двадцати восьми 20-мм зенитных орудий, размещенных побортно на спонсонах и на надстройке.
Достичь Готенхафена, который располагался на расстоянии 1500 км от английской базы, удалось лишь семи бомбардировщикам, но и тем не повезло — из-за тумана их экипажи не смогли обнаружить авианосец, и им пришлось сбросить свои "супербомбы" просто в район гавани. Правда, в этой акции не был потерян ни один Ланкастер.
Однако уже 30 января 1943 г. последовал новый приказ Гитлера - прекратить достройку... Адмирал Редер прокомментировал это событие, назвав последствия решения фюрера "самой дешевой в истории победой Англии на море". Такое решение было связано с провалом операции Regenbogen, целью которой являлось уничтожение союзнического конвоя JW-1В в Баренцевом море. После неудачного для немцев морского сражения 31 декабря 1942 года Гитлер, абсолютно разуверившийся в боевой эффективности тяжелых артиллерийских кораблей, приказал поставить их на прикол, предварительно демонтировав с них вооружение. Это решение повлияло и на судьбу авианосца, так как именно совместно с подобными боевыми кораблями и предполагалось его использование.
21 апреля 1943 года "Zeppelin" в рамках операции "Zugvogel" снова перевели на восток. 23 апреля конвой с авианосцем достиг Свинемюнде, а спустя несколько часов вошел в Штеттин в готовности 92%. Здесь корабль покинул экипаж, состоящий из военных моряков и работников судоверфи, и его заменил персонал из сорока гражданских работников.
Взрывные заряды (10 глубинных бомб) были заложены под главные турбины, электрогенераторы и самолетоподъемники. В момент наступления на город советских войск "Graf Zeppelin" находился в протоке Монне реки Одер. В 18.00 24 апреля 1945 г. старший морской начальник Штеттина капитан цур зее В. Калер (W. Kahler) отдал по радио приказ специальной команде, находившейся на АВ. Взрывы заложенных весьма грамотно зарядов привели в полную негодность к использованию и восстановлению главные турбины, электрогенераторы, самолетоподъемники. Ко времени вступления в город советских войск через небольшие пробоины, трещины и неплотности наружной обшивки во внутренние отсеки корпуса АВ проникла забортная вода, и корабль находился в притопленном состоянии. Однако благодаря тому, что он стоял в недостаточно глубокой протоке Монне реки Одер, он просто лег на грунт на глубине семи метров с креном 0,5 градуса на правый борт. Уровень воды в машинном отделении составил 4 м. В таком притопленном состоянии в тот же день авианосец был захвачен советскими войсками.
Вскоре после подписания акта капитуляции Германии во Второй мировой войне состоялась Потсдамская конференция трех Держав - победительниц. Среди решений этой конференции было и такое: "Годные к использованию надводные суда германского флота, включая суда, которые могут быть приведены в состояние годности в течение установленного времени, вместе с тридцатью ПЛ будут поровну разделены между тремя Державами. Остаток германского флота будет уничтожен." 23 января 1946 г. газета "Правда" опубликовала англо-советско-американское коммюнике, известившее а назначении тройственной военно-морской комиссии. Комиссия, в работе которой с советской стороны участвовал начальник ЦНИ-ИВК инженер-контр-адмирал Н.В.Алексеев, закончила свою деятельность 6 декабря 1946 г. Она установила, что более 50% корабельного состава ВМС Германии погибло во время войны, около 13% было потоплено в базах в период капитуляции, то есть разделу между союзниками подлежало всего около одной трети списочного состава флота. Среди боевых кораблей: один тяжелый и один легкий крейсер, 13 эсминцев, 17 миноносцев, 30 ПЛ, 132 тральщика, 17 эскортных кораблей, 8 кораблей ПВО и канонерских лодок, 89 торпедных катеров и 144 катерных тральщика. Зарегистрированные комиссией более 2.100 вспомогательных судов вызвали при обсуждении их судьбы самые горячие споры.
Отношения между бывшими союзниками к этому времени уже оставляли желать лучшего, поэтому каждый искал способы с наибольшим эффектом использовать все предоставляющиеся возможности для усиления своих сил и ослабления сил соперников. Советские представители приложили немало усилий для того, чтобы получить большую часть немецкого вспомогательного флота и, главное, "плавучего тыла" - плавучих доков, кранов, плавмастерских и т.п. Но здесь "победа" осталась за Великобританией. Она же отдала СССР всю причитавшуюся ей по результатам жеребьевки долю танкеров за один морской танкер-снабженец большой грузоподъемности. В части недостроенных боевых кораблей Советский Союз имел больше возможностей и испытывал большую в них необходимость, чем англичане и американцы.
Предпринимались и попытки проанализировать возможность и целесообразность достройки тяжелого крейсера "Seydlitz" в качестве АВ, а по поводу ремонта и дальнейшего использования АВ "Graf Zeppelin" в качестве своеобразного "испытательного стенда" при создании собственных АВ адмирал Н.Г.Кузнецов обращался в НКСП, получил принципиальное согласие Балтийского завода на выполнение необходимых работ.
Предполагалось, что на АВ сначала будут подорваны заранее заложенные авиабомбы и артснаряды различных калибров, затем он будет подвергнут бомбометанию с самолетов, расстрелу из орудий главного калибра крейсеров и, наконец, завершат дело "лихие" торпедные атаки надводных кораблей. Планировался также и подрыв мин на различных глубинах и удалениях. В промежутках между вариантами указанного сценария группы военных ученых должны были производить замеры, расчеты и проверки элементов корабля с минимальными действиями по восстановлению его живучести (например, запуск насосов для откачки воды). Осуществление программы испытаний возлагалось на 4-й ВМФ.
После этого АВ отбуксировали в Свинемюнде. 14 августа 1947 г. в 14.45 четыре портовых буксира и морской буксир МБ-44 вывели АВ (он же - "ПБ-101") на внешний рейд Свинемюнде, откуда вооруженный ледокол "Волынец", буксиры МБ-44 и МБ-47, а также обеспечивавшие переход тральщики Т-714, Т-742 и водолазное судно ВМ-902 доставили его в отведенный для опытов пятимильный квадрат морского полигона. К моменту выхода на испытания АВ имел осадку 6,5 м, был удифферентован на ровный киль, но крен на левый борт (ЛБ) из-за осушения булей трех отсеков ПрБ составлял 3 град.
Утром 16 августа начались испытания надводного воздействия боеприпасов. Сначала одновременно подорвали заранее заложенные фугасную авиабомбу ФАБ-1000 (в дымовой трубе), три ФАБ-100 и два 180-мм артснаряда под полетной палубой. Необходимо отметить, что часть бомб на полетной палубе в месте подрыва размещалась с заглублением - в настиле палубы вырезался колодец, в который бомба вывешивалась почти по стабилизатор. Это как бы имитировало проникающий эффект при кинетическом ударе. При взрыве ФАБ-1000 в дымовой трубе она была разрушена до настила полетной палубы. Однако надстройки "острова" не пострадали, а взрывная волна не разрушила и даже не деформировала дымоходы. В котлах превышения давления не наблюдалось, а на броневых колосниках была обнаружена неповрежденная паутина (!). Из трех ФАБ-100, взорванных на полетной палубе, наибольшие повреждения причинил взрыв "незаглубленной" бомбы, остальные ("заглубленные") посылали ударную волну вниз, в ангар. Артиллерийские 180-мм снаряды давали различные результаты разрушений, наибольшие, естественно, получались при взрыве полубронебойных.
Поэтому с учетом выполнения условий бомбометания и наличия боезапаса в ударе по АВ смогли принять участие только 24 экипажа Пе-2. Две девятки самолетов бомбили по сигналу ведущего в звене, а часть Пе-2 атаковали цель индивидуально. Удары обеспечивали два самолета типа "Каталина", один из которых, находясь над целью, наводил на нее ударную группу, а второй работал в поисково-спасательном варианте. Кроме того - неслыханная на войне роскошь! - управление ударными группами осуществлялось еще и с "Волынца", а на палубе "жертвы" был нарисован белый крест 20х20 м с шириной полос 5 м. Первая атакующая группа нанесла удар с высоты 2070 м и сбросила 28 авиабомб, вторая - примерно стой же высоты, сбросила 36, и третья (индивидуальное бомбометание) "разгрузилась" 24 бомбами. Три самолета вынуждены были сбросить бомбы в море аварийно. Результат бомбометания по почти неподвижному, беззащитному и совсем не маленькому кораблю оказался "впечатляющим": из ста бомб в цель попали только шесть (!), причем обнаружить в палубе удалось лишь пять попаданий. Летчики же настаивали на одиннадцати, считая, что часть бомб попала в уже разрушенные предыдущими подрывами места. Так или иначе, но бомбардировка АВ с точки зрения живучести ничего не дала: бомбы П-50 оказались слишком маломощными и не наносили существенных повреждений, кроме вмятин в палубе глубиной 5-10 см. Правда, одна из бомб сделала пробоину в буле ПрБ диаметром около 1 м. Для боевой подготовки атаки "Цеппелина" были слишком полигонными и, видимо, мало поучительными: противовоздушной обороны, понятно, не осуществлялось, самолет наведения беспрепятственно "разгуливал" над целью, высота бомбометания соответствовала зоне плотного зенитного огня. Разрушения, произведенные второй серией "статических" подрывов, точнее, одним взрывом ФАБ-1000 на полетной палубе, оказались незначительными: палуба была деформирована в радиусе семь м со стрелкой прогиба около 1,2 м, но пробоина получилась очень маленькой - около трех см в диаметре. Забегая вперед, следует заметить, что последнее сильно огорчило испытателей. Отсутствие "авианосного" восприятия выразилось в сожалениях по поводу незначительной пробоины, однако при этом совершенно игнорировалось то обстоятельство, что семиметровая впадина на полетной палубе для АВ гораздо "вреднее", чем любая пробоина. Третья серия подрывов заключалась в одновременной детонации ФАБ-250 и двух 180-мм снарядов. Бомба взорвалась на полетной палубе, снаряды - на верхней ангарной. Подрыв вызвал пробоину в палубе от ФАБ-250 диаметром 0,8 м. В районе пробоины в радиусе 1,3 м был деформирован набор палубы, но стрелка прогиба составила всего 0,12 м. Взрывы 180-MM снарядов дали примерно тот же результат, что и при первом подрыве.
Четвертая серия включала одновременный подрыв ФАБ-500 на высоте 2,7 м над полетной палубой (бомба вывешивалась на треноге), ФАБ-250 на палубе верхнего ангара, ФАБ-250 на полетной палубе и ФАБ-100 на палубе "С" (батарейной). В результате подрыва был полностью разрушен "остров" и нанесены существенные повреждения в верхнем ангаре, однако разрушения наложились на предыдущие и зафиксировались относительно слабо.
Наконец, пятая серия заключалась в одновременном подрыве ФАБ-500 и ФАБ-100 на полетной палубе. Серия проявилась отчетливо: взрыв ФАБ-500 на полетной палубе образовал трехметровую пробоину, радиус зоны деформации палубы составил 3,5 м со стрелкой прогиба около полуметра. Подрыв ФАБ-100 в ангаре смел все легкие выгородки, разрушил оборудование, нанес большое количество осколочных пробоин.
Результаты испытаний, проводившихся с трофейными немецкими кораблями, были засекречены, союзникам сообщили лишь факт уничтожения АВ. Отсутствие официальной информации породило несколько версий о его судьбе. Наибольшую известность получило высказанное в книге немецкого адмирала Ф. Руге предположение о том, что во время буксировки из Германии в советский порт "Graf Zeppelin" перевернулся в результате смещения палубного груза листовой стали и затонул. Существовали и другие, более правдоподобные версии - но лишь версии.
|
|||||||||||||||||||||||||||||||||||||||||||||||||||||||||||||||||||||||||||||||||||||||||||||||||||||||||||||||||||||||||||||||||||||||||||||||||||||||||||||||||||||||||||||||||||||||||||||||||||||||||||||||||||||||||||||||||||||||||||||||||||||||||||||||||||||||||||||||||||||||||||||||||||||||||||||||||||||||||||||||||||||||||































































































































































































































































































